|

|
 |
一、概述:
本传感器采用电磁感应的原理来达到测速目的,具有输出信号大,不需要放大,抗干扰性能好,不需外接电源,可在烟雾、油气、水气、煤气等恶劣环境中使用等特点。
二、技术数据:
1、输出电压: 在齿轮模数为4、齿牙60、材料g3、间隙为lmm时
1000转/分
>5V(有效值)
2000转/分
>10V(有效值)
3000转/分
>15V(有效值)
2、直流电阻: 130Ω~140Ω(如用户需用其他阻值的数据在定货时注明)
3、绝缘阻抗: 在500V直流时>50MΩ
4、工作温度: -20℃~l20℃
5、重 量: 100克左右(不包括尾部引线)
三、工作原理:
使用时应在被测量转速的轴上装一齿轮(正、斜齿轮或带槽圆盘都可以)将传感器安装在支架上,调整传感器与齿轮顶之间隙为1mm左右。
当轴旋转时带动齿轮旋转,根据电磁感应的原理在传感器内部线圈的两端产生一个脉冲信号,轴转动一圈时就产生在Z个电压脉冲信号,根据下式:
F=(n/60)×Z
式中:F为频率 Hz/秒
n为被测轴转速 转/分
Z为齿轮齿数
当齿轮齿数为60时,就把轴的每分种转数n转化成频率为F的电压脉冲信号,将此信号送到SZC系列智能转速表中,就可以反应出轴的转速。
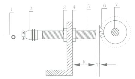
四、安装使用:

图中:1、输入导线 2、航空插头 3、铜质拼紧螺母
4、同定支架
5、磁性传感器 6、1~99内任意个齿 7、被测轴 R.20~25mm T.1±0.5mm
齿轮要求:材料:各种导磁钢铁材料均可。
模数:2以上即可。
齿数:l~99齿任意。
五、注意事项:
1、传感器输出线中的金属屏蔽层应接大地零线。
2、不允许在温度为25℃以上强磁场环境中使用及放置。
3、安装及运输过程中应避免强烈撞击。
4、在被测轴跳动较大时,应注意适当放大间隙,避免损坏。
5、本传感器为了考虑在恶劣环境中使用,故装配调试完毕后即行密封,故无法修理。
6、本传感器包用期为18个月。

|
|
XZCB-01-100-02加长型转速传感器 |
用户要求:总长度L=170mm,内阻为220Ω左右,转速在每分钟3000rpm时有效值大于15V左右,有屏蔽专用信号通讯电缆,用航空插头,传感器和接头可分离,用铜质拼紧螺母,1-99齿都适用。
XZCB-01-100-02加长型转速传感器除满足以上参数,与SZCB-01转速传感器在概述、技术参数、工作原理、安装使用、使用中要注意的事项完全相同,一切满足用户的技术规范。 |
|
 |
|
XZCB-01-200-01-HC超长型转速传感器 |
用户要求:总长度L=200mm,内阻为280Ω左右,转速在每分钟4000rpm时有效值大于20V左右,有屏蔽专用信号通讯电缆,用航空插头,传感器和接头可分离,用铜质拼紧螺母,1-99齿都适用。
XZCB-01-200-01-HC超长型转速传感器除满足以上参数,与SZCB-01转速传感器在概述、技术参数、工作原理、安装使用、使用中要注意的事项完全相同,一切满足用户的技术规范。 |
|
 |
|
|
|
XZCB-01-220-02-HC超长型转速传感器 |
|
用户技术要求:传感器总长L=220mm;全螺纹长为L=220mm;内阻为220Ω;1—99齿都能适用转速在3300转/分时,输出电压信号应大于15V左右;具有屏蔽专用信号通讯电缆,长度为:5000mm;有极强抗变频器噪声干扰,高次谐波干扰的能力、具有一定的抗污染能力,在极恶劣的环境下能正常检测设备的旋转转速。
安装方式:固定可靠直接安装。传感器螺纹为φ16×1,用铜质螺帽拼紧。橡皮垫头,不另拆卸、牢固不动。
工作效率:长期不间断工作,不漂移,具有较强稳定性。 |
|
|
|
 |
|
|
|
XZCB-01-001-XS-G型转速传感器 |
用户要求:总长度L=80mm,橡皮垫头,不易拆卸,牢固不动,用铜质拼紧螺母,1-99齿都适用,内阻为高阻:350Ω;
XZCB-01-001-XS-G型转速传感器其余参数与SZCB-01型转速传感器完全吻合。 |
|
 |
|
|
|
CS-3三线制转速传感器 |
|
 |
|
 |
|
|
|
 |
|
|
|
 |
|
|
|
XZCS-3-03型三线制转速传感器 |
|
|
|
 |
|
|
|
 |
|
无锡市胡埭(dai)仪表厂制造的XZCS-3-03型三线制转速传感器应用在东方汽机、东方电机有限公司的转速检测设备上。 |
|
|
|
SZCB-01特制型转速传感器 |
|
 |
|
无锡市兴洲仪器仪表有限公司、无锡市
胡埭仪表厂生产的SZCB-01转速传感器特制型技术参数:M22*1,L=100mm。 |
|
|
|
XZCB-01-55-002-XS-G型转速传感器 |
|
 |
|
选型客户:上海英伦机电设备有限公司、北京机电进出口公司、陕西电机仪器公司,要求:L=55mm,内阻为310Ω左右,转速为每分钟8000rpm时有效值大于25V左右,要用专用信号屏蔽通讯电缆,用航空插头,传感器和接头可分离,用纯铜质拼紧螺母,1-200齿都适用,具有极强的灵敏度和抗干扰性,具有高性能精度。 |
|
|
|
XZCB-02-65-Ⅱ-XC-Z型转速传感器 |
|
 |
|
无锡市胡埭(dai)仪表厂制造的XZCB-02-65-Ⅱ-XC-Z型转速传感器配套应用在新加坡工业园区出口发电机设备上。
XZCB-02-65-Ⅱ-XC-Z型是属磁电转速传感器无源型。本传感器采用电磁感应原理来达到目的,具有输出信号大,不需要放大,抗干扰性特好,不需外接电源,可在烟雾、油气、水气、煤气等恶劣环境中使用等特点。
XZCB-02-65-Ⅱ-XC-Z传感器,输入导线成为耐高温信号专用屏蔽线。正负信号输入线再嵌入金属屏蔽、外套耐高温护套线。
用户要求:总长度L=65mm;全不锈钢材质;不可拆卸、牢固不动。用不锈钢拼紧螺母;1-200齿都适用;转速可1rpm-12500rpm,转速每分钟达12500rpm,有效输出电压为大于30V。要求:耐振;耐干扰;耐油污;耐高温;具有极强的灵敏度和具有高性能精度。得到国外厂商的认可。配套出口的设备无一返修。 |
|
|
|
无锡市胡埭(dai)仪表厂制造的:XZCB-03-85-Ⅲ-XY转速传感器(浸在油里检测的转速传感器,46#汽轮机油) |
|
 |
|
用户要求:
1.
螺管长度:L=85mm;2.螺纹长:L=75mm;3.螺纹:m16*1;4.直接金属带屏蔽电缆导线长L=2000mm;5.非接触式,无源,防爆型;6.输出电压:3000转/分>15V,有效值;7.直流电阻:190-230Ω之间;8.绝缘电阻:在500V直流时,大于50MΩ;9.工作温度为:-30°~125°;10.浸在46号汽轮机油里长期工作时,不腐蚀、不脱落,对检测转速输出电压、电性能、抗干扰、防爆等都不受丝毫影响;11.安全**,质量可靠。
无锡市胡埭(dai)仪表厂制造的:XZCB-03-85-Ⅲ-XY型转速传感器是采用电磁感应的原理来达到检测转速的目的,具有输出信号大,不需要进行放大处理,抗干扰性能强、不需外接电源,无电火花,具有防爆功能,可在烟雾、油气、水气、煤气、剧毒气体的恶劣环境下中应用。深受广大客户的青眯。选用后使用的效果很理想,取代进口的产品:XZCB-03-85-Ⅲ-XY型在油里检测的转速传感器。
无锡市胡埭(dai)仪表厂制造的:XZCB-03-85-Ⅲ-XY型转速传感器在全国个电厂46号汽轮机油里检测转速得到很好的应用:山西煤矸石电厂、内蒙古节能环保发电厂、山东济宁电厂、广东东莞糖业集团自备电厂、四川铝业发电厂…… |
|
|
|
XZCB-03-160-M12×1.5-Ⅲ-XC-G型磁电式转速传感器(检测宽范围转速传感器) |
|
 |
|
无锡市胡埭(dai)仪表厂制造的XZCB-03-160-M12×1.5-Ⅲ-XC-G型磁电式转速传感器配套本厂制造的SZC-07型智能转速表上(高转速范围:0-99999rpm),应用配套在重庆机械集团公司制造的
出口设备上。
用户要求:转速测量范围:60rpm-75000rpm;常用范围20000rpm-60000rpm与传感器、转速表匹配,采用可拆卸航空插头连接。选用SZC-07型智能转速表。
用户要求:用于两齿型测速盘,转速范围为:60rpm-75000rpm,螺杆尺寸长度:150-160mm带两颗螺母与转速表连接采用航空插头,信号线采用金属带屏蔽,高抗强度,高抗干扰屏蔽信号电缆,长度为10米。
工作周期:长期连续。
XZCB-04-M20型转速传感器

(一) 概述
XZCB-04-M20型转速传感器采用电磁感应的原理达到测速的目的,具有输出信号大,不需要放大,有极强的抗干扰性能,不需要外电源,可在烟雾、气味、油气、水气、煤气、氨气等等恶劣环境中使用的突出优点。
XZCB-04-M20型转速传感器根据西飞集团公司的技术要求,非常规型,安装方式改为M20×1.5全螺纹型,赫斯美插件连接,增加抗电强度,提高了耐抗强度,插拔可靠,接触电阻小,提升了传感器的技术性能。
(二) 主要数据
•输出电压:在齿轮齿数为4.齿牙为60.材料为3.间隙为1.5m/m时。
1000转/分>5V(有效值)
2000转/分>10V(有效值)
3000转/分>15V(有效值)
•直流电阻为:150Ω左右(如用户需用其他阻值的数据在订货时可注明定制)
•绝缘阻抗:在500V直流时>50MΩ
•工作温度:-20℃—120℃
•重量在:230g左右(不包括尾部引线)
XZCB-04-M20型转速传感器在陕西省西安市阎良区西区西安飞机工业(集团)有限责任公司专用检测设备上配套应用。
XZCB-05-M44×2特殊转速传感器为某军工企业研制及制造 (1)型号及名称:XZCB-05-Ⅱ转速传感器
(2)规格:M44×2
(3)技术要求:0-60000rpm。检测时无振动脉动干扰波
(4)输出电压:>15V以上有效值
(5)绝缘阻抗:在500V直流时>50MΩ
(6)工作温度在-25℃—135℃.
(7)带航空插,可插拨分离,带高抗干扰屏蔽引出线。
注:使用下来,赢得军工企业特技研制组的一致好评。

|
|
|